Werkstoff: Grauguss EN-GJL250, phosphatiert.

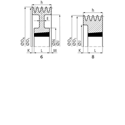
Keilriemenscheiben für Taper-Spannbuchsen, zur schnellen und einfachen Montage. Die Taper-Spannbuchse muss separat bestellt werden. In Anlehnung an DIN 2211 bzw. DIN 2217 bzw. ISO 4183, zur Verwendung mit klassischen Keilriemen DIN 2215 und Schmalkeilriemen DIN 7753-1 / ISO 4184. Auch verwendbar für Keilriemen 3V/9N nach ARPM/MPTA. Der Nenndurchmesser D1 ist der Wirkdurchmesser.

In diesem Youtube-Video zeigen wir Ihnen die Montage und Demontage von Taper-Spannbuchsen:

Film (3,5 Minuten)

Service:

Katalogseite

Zusätzliche Informationen

Montageanleitung



Die angebotenen CAD-Daten, Abbildungen und technischen Zeichnungen werden mit größtmöglicher Sorgfalt erstellt.
Dennoch kann keine Gewährleistung für die Fehlerfreiheit und Genauigkeit dieser Daten übernommen werden.

( freibleibend aus Lagervorrat / kurzfristig lieferbar / Lieferzeit nach Vereinbarung. Bitte fragen Sie nach. )
Artikel Menge Rillen-AnzahlNenn-Ø D1
[mm]
Ø DA
[mm]
AusführungTaper-Buchse
[Nr.]
Bohrung
[mm]
E
[mm]
h
[mm]
J
[mm]
K
[mm]
L
[mm]
M
[mm]
N
[mm]
Gewicht ca.
[kg]
MAE 151-Z-4-80
4808481210 10 - 32 -52512725--1,0
MAE 151-Z-4-85
4858981610 12 - 42 -52602725--1,0
MAE 151-Z-4-90
4909481610 12 - 42 -52612725--1,2
MAE 151-Z-4-95
4959981610 12 - 42 -52662725--1,2
MAE 151-Z-4-100
410010481610 12 - 42 -52712725--1,4
MAE 151-Z-4-106
410611081610 12 - 42 -52762725--1,6
MAE 151-Z-4-112
411211682012 12 - 50 -52832032--1,7
MAE 151-Z-4-118
411812282012 12 - 50 -52902032--1,8
MAE 151-Z-4-125
412512922012 12 - 50 -5296-3220-2,0
MAE 151-Z-4-132
413213622012 12 - 50 -52103-3220-2,5
MAE 151-Z-4-140
414014422012 12 - 50 -52111-3220-3,0
MAE 151-Z-4-150
415015422517 15 - 65 -52121-457-3,8
MAE 151-Z-4-160
416016422517 15 - 65 -52131-457-4,5
MAE 151-Z-4-170
417017422517 15 - 65 -52141-457-5,3
MAE 151-Z-4-180
418018422517 15 - 65 -52151-457-6,4
MAE 151-Z-4-190
419019432517 15 - 65 -521613,5453,5-4,8
MAE 151-Z-4-200
420020462517 15 - 65 8521713,5453,51245,5
MAE 151-Z-4-224
422422862517 15 - 65 14521953,5453,51246,6
MAE 151-Z-4-250
425025462517 15 - 65 12522213,5453,51247,3
MAE 151-Z-4-280
428028462517 15 - 65 14522513,5453,512410,0
MAE 151-Z-4-315
431531952517 15 - 65 -522863,5453,51249,7
MAE 151-Z-4-355
435535952517 15 - 65 -523263,5453,512412,4
MAE 151-Z-4-400
440040452517 15 - 65 -523713,5453,512413,2
MAE 151-Z-4-450
445045453020 20 - 75 -524210,5510,514616,0
MAE 151-Z-4-500
450050453020 20 - 75 -524710,5510,514619,5
MAE 151-Z-4-630
463063443030 30 - 75 -5260112761214625,0
MAE 151-Z-4-800
480080443030 30 - 75 -5277112761214642,5


zur Gruppe


Impressum AGB Hilfe Index


MÄDLER on Facebook Facebook MÄDLER on Youtube YouTube MÄDLER on X X MÄDLER on Instagram Instagram MÄDLER on Xingk Xing MÄDLER on Linkedin LinkedIn