Werkstoff: Grauguss EN-GJL-250, phosphatiert.
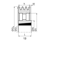
Keilriemenscheiben für Taper-Spannbuchsen, zur schnellen und einfachen Montage. Die Taper-Spannbuchse muss separat bestellt werden. In Anlehnung an DIN 2211 bzw. DIN 2217 bzw. ISO 4183, zur Verwendung mit klassischen Keilriemen DIN 2215 und Schmalkeilriemen DIN 7753-1 / ISO 4184. Auch verwendbar für Keilriemen 5V/15N nach ARPM/MPTA. Der Nenndurchmesser D1 ist der Wirkdurchmesser.

1) Ø 100-106mm nicht für Keilriemen SPB, XPP und 5V/15N.
2) Ø 112-132mm nicht für Keilriemen SPB und 5V/15N.


Im Zuge der Sortimentserweiterung dieser Produktgruppe wurden neue Teilenummern vergeben. Hier erhalten Sie eine vollständige Übersicht der bisherigen und neuen Artikelnummern:

Übersicht Nachfolger Taper-Keilriemenscheiben

Service:

Katalogseite

Zusätzliche Informationen

Montageanleitung



Die angebotenen CAD-Daten, Abbildungen und technischen Zeichnungen werden mit größtmöglicher Sorgfalt erstellt.
Dennoch kann keine Gewährleistung für die Fehlerfreiheit und Genauigkeit dieser Daten übernommen werden.

( freibleibend aus Lagervorrat / kurzfristig lieferbar / Lieferzeit nach Vereinbarung. Bitte fragen Sie nach. )
Artikel Menge Bisherige ArtikelnummerRillen-AnzahlNenn-Ø D1
[mm]
Ø DA
[mm]
AusführungTaper-Buchse
[Nr.]
Bohrung
[mm]
E
[mm]
h
[mm]
J
[mm]
K
[mm]
L
[mm]
M
[mm]
N
[mm]
Gewicht ca.
[kg]
MAE 151-B-3-100
155310003100 1)10781610 12 - 42 -63623825--1,30
MAE 151-B-3-106
3106 1)11381610 12 - 42 -63673825--2,00
MAE 151-B-3-112
155311003112 2)11981610 12 - 42 -63723825--2,30
MAE 151-B-3-118
3118 2)12521610 12 - 42 -6378-2538-2,5
MAE 151-B-3-125
155312003125 2)13222012 12 - 50 -6382-3231-2,50
MAE 151-B-3-132
3132 2)13922012 12 - 50 -6389-3231-3,00
MAE 151-B-3-140
15531400314014722012 12 - 50 -6397-3231-3,50
MAE 151-B-3-150
315015722517 15 - 65 -63107-4518-4,00
MAE 151-B-3-160
15531600316016722517 15 - 65 -63117-4518-4,73
MAE 151-B-3-170
317017722517 15 - 65 -63127-4518-5,70
MAE 151-B-3-180
15531800318018722517 15 - 65 -63137-4518-6,60
MAE 151-B-3-190
319019722517 15 - 65 -63147-4518-7,60
MAE 151-B-3-200
15532000320020722517 15 - 65 -63157-4518-8,65
MAE 151-B-3-212
321221962517 15 - 65 1563169-45181178,10
MAE 151-B-3-224
15532200322423162517 15 - 65 1563181-45181179,05
MAE 151-B-3-236
323624362517 15 - 65 1563193-45181179,50
MAE 151-B-3-250
15532500325025763020 20 - 75 2063207-511214411,0
MAE 151-B-3-280
15532800328028763020 20 - 75 2063237651614411,6
MAE 151-B-3-300
330030763020 20 - 75 2063257651614413,5
MAE 151-B-3-315
15533100331532263020 20 - 75 2063272651614414,5
MAE 151-B-3-335
333534263020 20 - 75 2063292651614416,5
MAE 151-B-3-355
335536263020 20 - 75 1563312651614417,6
MAE 151-B-3-400
340040743535 30 - 90 -6335713891317523,3
MAE 151-B-3-450
3450457133535 30 - 90 -63407-892617526,5
MAE 151-B-3-500
3500507133535 30 - 90 -63457-892617530,5
MAE 151-B-3-560
3560567133535 30 - 90 -63517-892617547,0
MAE 151-B-3-630
3630637133535 30 - 90 -63587-892617535,5
MAE 151-B-3-710
371071743535 30 - 90 -6366413891317544,0
MAE 151-B-3-800
380080743535 30 - 90 -6375413891317543,0
MAE 151-B-3-900
390090743535 30 - 90 -6385413891317554,5
MAE 151-B-3-1000
31000100744040 40 - 100 -6395419,510219,521078,0
MAE 151-B-3-1250
31250125744040 40 - 100 -63120419,510219,5210100


zur Gruppe


Impressum AGB Hilfe Index


MÄDLER on Facebook Facebook MÄDLER on Youtube YouTube MÄDLER on X X MÄDLER on Instagram Instagram MÄDLER on Xingk Xing MÄDLER on Linkedin LinkedIn